9月23日消息,DDR5进入PC、服务器市场已经快5年时间了,速率比DDR4大幅提升,但在AI时代带宽需求极高,AMD日前公布了一种新的DDR5技术,可以将速度翻倍到12.8Gbps。
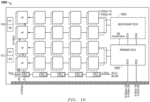
AMD最近申请了一项新的DDR5专利,描述了一种高带宽双列直插式内存模块 (HB-DIMM) 架构,通过引入伪通道、智能信号器等技术实现了超高内存性能。
每个HB-DIMM都有多个连接到数据缓冲器的芯片,它们可以两倍速度运行,等于将内存速率翻倍,从当前的6.4Gbps提升到12.8Gbps。
值得一提的是,这两天DDR5内存超频极限频率就是13Gbps左右。
AMD的这个专利最大优点就是不改变DDR5底层技术,通过技术扩展来提升性能,意味着当前的平台不需要全新升级就能支持,兼容性良好。
不论是AI还是GPU显卡,对内存带宽要求都很高,依赖HBM内存的话成本太高,消费级很难普及,现在DDR5内存带宽可以轻松翻倍,应用前景很广泛。
不过这个专利也不等于这个技术马上问世,而且还需要内存芯片厂商的支持,所以暂时也看不到该技术商用的时间表。
本文转载于快科技,文中观点仅代表作者个人看法,本站只做信息存储
阅读前请先查看【免责声明】本文来自网络或用户投稿,本站仅供信息存储,若本文侵犯了原著者的合法权益,可联系我们进行处理。 转载请注明出处:https://www.chinafoods.net/article/2598.html


